Skip to content
Menu
About
Portfolio
Bicycle
Skateboard
Motorcycle
Firearms
Miscellaneous
Work Stuff
Lectures
Interviews
PVD Mix Tape
Custom Bike Shows
Contact
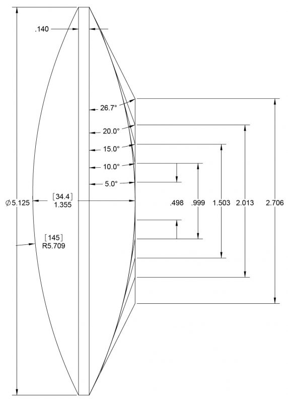
Work Stuff
This is a partial show of what I make at work.