It was time to test the state of tariffs and overseas machining. I had some parts that I wanted to improve the Samantha fixture so I’d use them to see how things are going. If this went well, I could resume some bigger projects.
The changes improve many functional things about the fixture but also improve the appearance. The slide action is also much smoother. It’s easier to be around. It really looks fancy now.
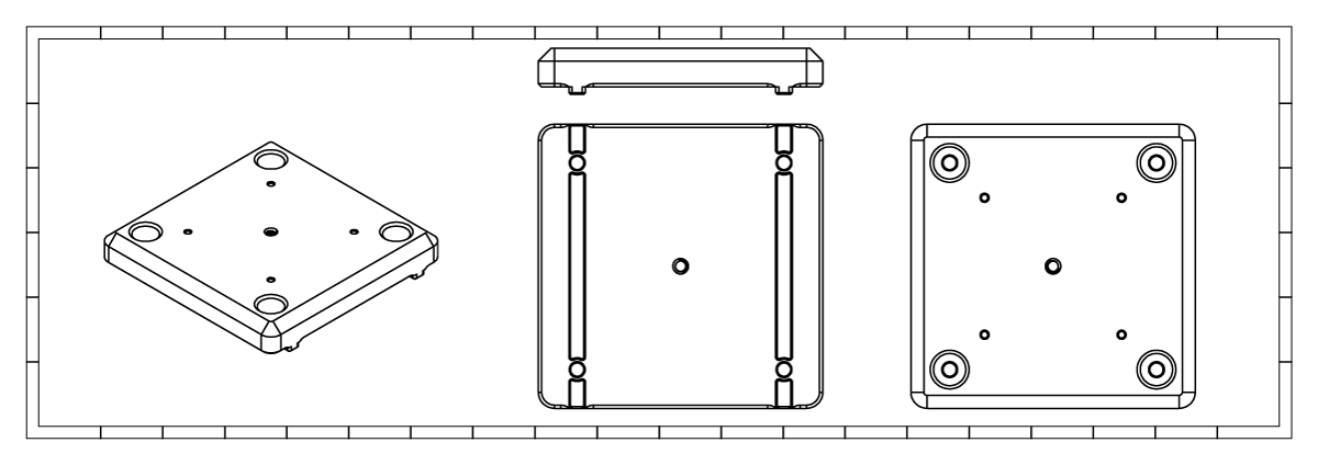
Three parts, slide rails, axle tower slide plate, and cone supports were produced.
Slide Rail:
- This part replaced the 8020 1575 base rail with a fully machined version. More consistent and stable but compatibility remains so emergency extensions can still be constructed..
- Locating pins are built into the part, improving repeatability and precision. The new design means that there is less tolerance stackup and play.
- Socket head cap screws replace the special Buildpro countersunk shoulder bolts. This makes install simple and easy from the top but does require an EZ-LOK insert to convert the 1/2-13 thread to 1/4-20 in the TXT5205 BuildPro Magnetic Threaded Adapter. Once converted, life is nice.
- Captured slot prevents plate from over running the rail.
- Smoothed the rail ends to reduce snags when working around overhanging.
Measuring the play in the pin holes, of the loosest of the new slide plate, discernable play was reduced 25% of the snuggest of old. Tiny gains but the real gain here would be the alignment of the rail more parallel to the raster. The maximum misalignment of the new rail from the axis is 0.017° (0.003/10.0), but that will tend to not happen as many factors help the rail into position. The old rail was 0.023° (0.004/10.0). Down 0.006°
Axle Tower Slide Plate:
- Integrated the rail keys. The old style used Delrin keys, I’m moving away from that for more precision and less parts.
- Eliminate the pin pocket to use socket head cap screw instead of insert.
- Footprint was reduced increasing the X-axis adjustment range.
- Reference edge is now coincident with the x-axis plane of the axle, making non-standard confirmation measures more obvious.
Cone Supports:
- Improved precision with tighter bores.
- While they are changing from steel to aluminum, the strength should be entirely sufficient for this part.
- Improve the elegance of the fixture and add some grace when being handled around the frame coming together.
While I could have integrated pins for these, I decided to keep them more flexible for other uses. They weren’t very expensive and I got extras. Later, when I raise the center plane of the fixture, these will be integrated into a monolithic tower slide.
Since the axle slide plate had changed in a way the effected the setup calculations, a new setup sheet is needed. Below, that from the Corsair.

























































